Follow Us

Vertical Shaft Multi Stage Fire Booster Sets

Sumak

Definition

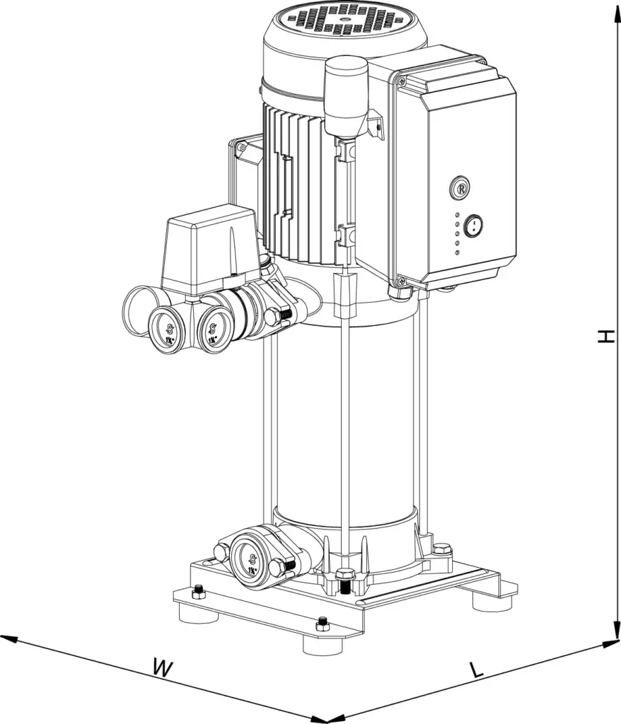
These single pump fire boosters with stainless steel body and vertical shaft are light and sound alarm, weekly test program and in compliance with TSE standards. It is designed to pressurize water in fire fighting systems.

Usage Areas

These fire boosters are used in fire fighting systems with water in residential units with high fire risk, industrial facilities, hotels, hospitals, workplaces, shopping malls, factories, public housing, warehouses, ships, schools and social service buildings, facilities processing chemicals and hazardous materials, automatic sprinklers, indoor fire cabinets and outdoor hydrants.

Pump Body AISI 304 INOX
Impeller NORYL
Shaft AISI 420
Liquid Temperature 0-45°C 
Protection Class IP 54
Insulation CI.F
Seal CERAMIC/CARBON

 

Techical Specifications

MOTOR PUMP
Type KW V Hz rpm W
L
H
input output 60 mss 80 mss
SHT 12 A 400/7 EY 1×3 380 50 2900 350 290 585 1x7m³ 1x5m³
SHT 16 A 550/5 EY 1×4 380 50 2900 370 330 660 1x12m³ 1x7m³
SHT 16 A 750/7 EY 1×5,5 380 50 2900 370 330 700 1x16m³ 1x12m³
SHT 24 A 1000/7 EY 1×7,5 380 50 2900 817 670 1145 2″ 2″ 1x20m³ 1x16m³
SHT 34 A 1500/6 EY 1×11 380 50 2900 817 670 1105 2″ 2″ 1x32m³ 2x24m³

Other Products

Bursa Motor Logo

+90 224 443 46 36

© 2025 Bursa Motor | All Rights Reserved.